The RMKP-550 series triplex mud pumps are fully interchangeable with the equivalent OEM.
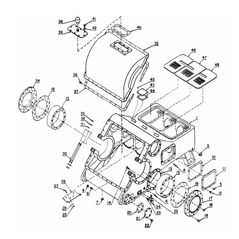
RMKP-550 PUMP(FRAME ASSEMBLY SPARE PARTS)
Description
The RMKP-550 series triplex mud pumps are fully interchangeable with the equivalent OEM. Pump features a rigid steel fabricated frame with a casted suction manifold with a single front inlet or fabricated two-sided inlet. Discharge connection may be made from either side of the pump. Includes strainer block with pulsation dampener, mounted on a pony skid.

| No. | Description | Qty | Part No. |
|---|---|---|---|
| FRAME ASSEMBLY | 1 | RM-201PZG001A | |
| 1 | FRAME | 1 | RM-201PZG001 |
| 2 | PLUG-SqHd PIPE | 2 | RM-64A27 |
| 3 | PLUG-SgHd PIPE | 1 | RM-64A9 |
| 4 | STUD,Crosshead Inspection Plate | 2 | RM-79A238 |
| 5 | NUT,Crosshead Inspection Stud | 2 | RM-50B5 |
| 6 | PLUG-SqHd PIPE | 1 | RM-64A5 |
| 7 | PLUG-MAGNETIC.Oil Drain | 3 | RM-66D13 |
| 8 | STUD,Hood | 2 | RM-79A6 |
| 9 | NUT,Hood Stud | 2 | RM-50B5 |
| 10 | GASKET,Crosshead Inspection Plate | 2 | RM-PZ715 |
| 11 | PLATE-INSPECTION,Crosshead | 2 | RM-200PZG052 |
| 12 | SCREW,Crosshead Inspection Plate | 10 | RM-655EE060 |
| 13 | HOUSING-BEARING COVER(Rigid Side) | 1 | RM-201PZG253 |
| 14 | SCREW,Bearing Retainer Plate | 12 | RM-655EG050 |
| 15 | HOUSING-BEARING,Eccentric | 2 | RM-200PZG006 |
| 16 | GASKET,Bearing Cover Plate | 2 | RM-201PZG715N |
| 17 | PLATE-BEARING COVER(Rigid Side) | 1 | RM-200PZG315 |
| 19 | SCREW,Bearing Cover Plate | 48 | RM-655EG070 |
| 20 | GASKET,Inspection Plate | 1 | RM-25C1788N |
| 21 | PLATE-INSPECTION | 1 | RM-202FXT052 |
| 22 | SCREW,Inspection Plate | 6 | RM-655EF050 |
| 23 | GAUGE,Oil Level Sight | 1 | RM-40L17 |
| 24 | GAGUE-TEMPERATURE | 1 | RM-27H11 |
| 25 | BUSHING-PIPE | 1 | RM-6400 |
| 26 | SLIDE-CROSSHEAD | 6 | RM-200PZG309 |
| 27 | SCREW,Crosshead Slide to Frame | 24 | RM-75LM6 |
| 28 | SEAL-FASTENER | 12 | RM-60DD35 |
| 29 | LOCKNUT | 24 | RM-50V44 |

Reviews
There are no reviews yet.