QYB40-120L pneumatic horizontal pump for charging BOP accumulator systems. Air-driven, 120L/min flow rate, 40 MPa output pressure. Suitable for offshore BOP control systems with restricted electric power.
QYB40-120L Pneumatic Horizontal Pump | BOP Accumulator Charge Pump
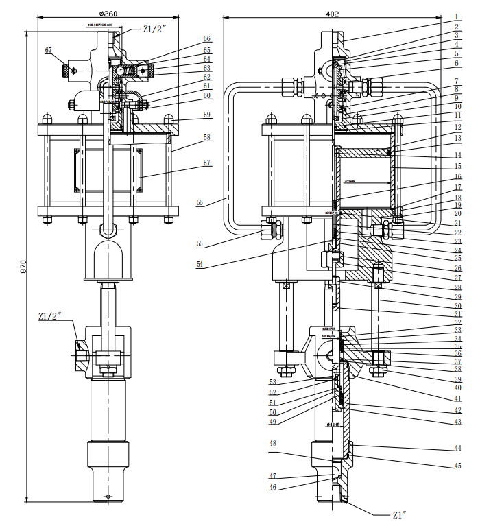
Description
The pneumatic pump is one of the main hydraulic components of the control system for surface BOP stacks. It uses compressed air as the power source. The pneumatic pump is a device converting air pressure energy into hydraulic energy and can increase pressure up to 40MPa. When the motor doesn’t work, the pneumatic pump can pressurize the whole system.


Reviews
There are no reviews yet.